בתי מיסב מתייצבים
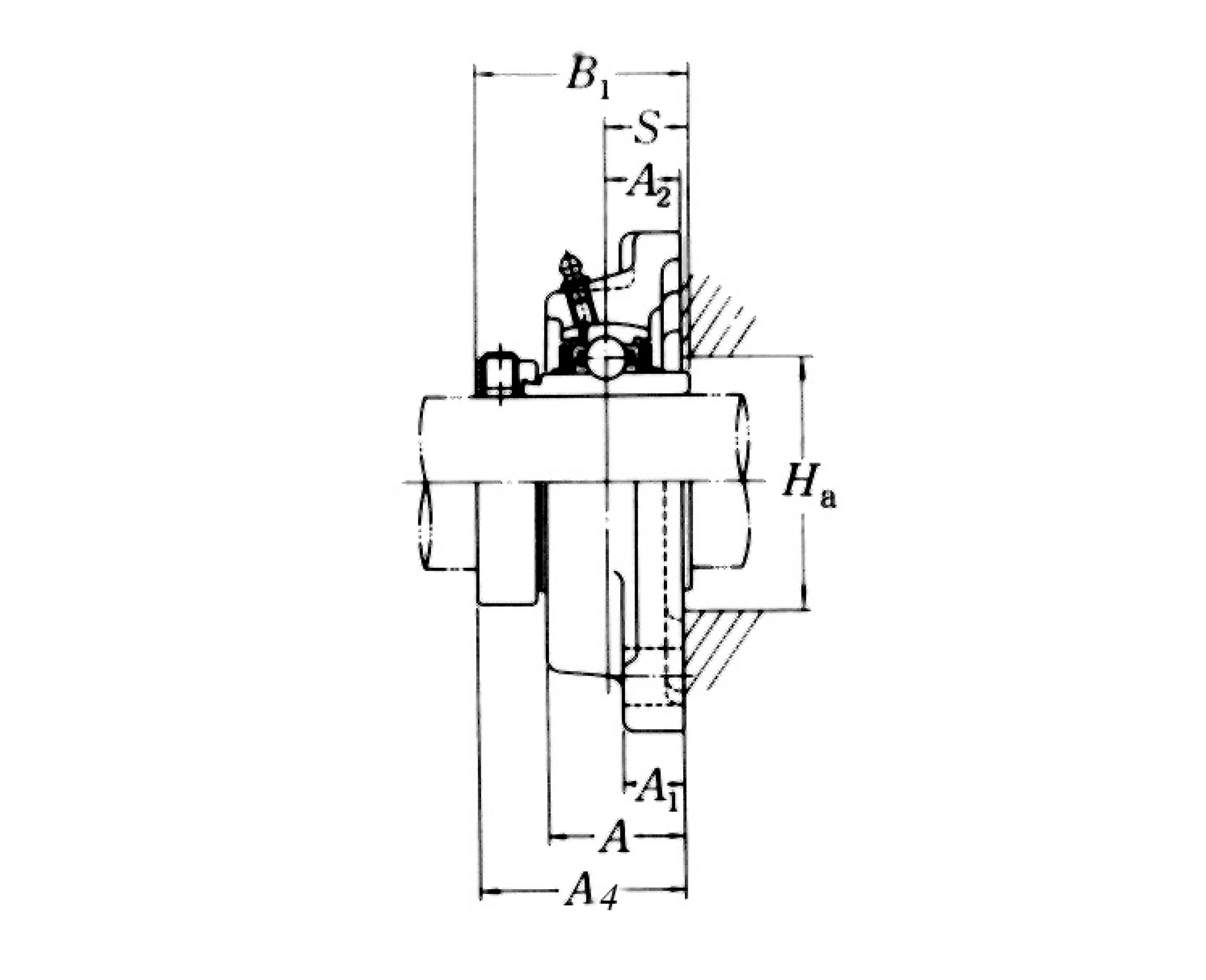
בית מיסב פלנג' מרובע
(Square Flang Pillow Block)
- מיסב בית מתייצב בעל גוף בצורת ריבוע המתחבר על משטח הניצב לציר הסיבוב.
כמות:





